Am 9. April 2026 veröffentlichte das US-Patent- und Markenamt einen Antrag von Tesla, Inc., der völlig ohne die üblichen Schlagworte auskommt: keine neuronalen Netze, keine World Models, kein KI-Hype. Stattdessen beschreibt das Patent US20260097493A1 in akribischer Detailarbeit ein Knie. Eingereicht am selben Tag wie Teslas AI Day 2022, enthüllt das Dokument die bio-inspirierte Mechanik hinter dem humanoiden Roboter Optimus. Nur wenige Tage vor der Veröffentlichung postete CEO Elon Musk auf X: „Optimus 3 läuft bereits herum, braucht aber noch den letzten Feinschliff.“ Es ist so gut wie sicher, dass er dabei genau auf diesem Knie steht.
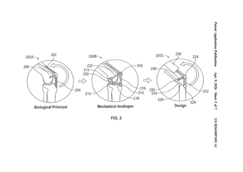
Die aufschlussreichste Grafik des Patents ist keine komplexe CAD-Zeichnung, sondern ein simples Triptychon. Es beginnt mit dem Diagramm eines menschlichen Knies, beschriftet als „Biologisches Prinzip“, geht über in ein strichmännchenartiges „Mechanisches Analogon“ und endet beim finalen „Design“. Das Dokument überträgt Quadrizeps, Patella und Bänder explizit auf eine Viergelenkkette. Das hier ist nicht bloß ein Roboterbauteil; es ist die direkte mechanische Übersetzung von Millionen Jahren Evolution. Die Konstruktion ermöglicht einen menschenähnlichen Rotationsbereich von 150 Grad – und das mit nur einem einzigen, kompakten Linearaktor.

Der Mechanismus, eine modifizierte inverse Hoecken-Verknüpfung, ist eine elegante Lösung für ein hochkomplexes Problem. Das menschliche Knie ist deshalb so effizient, weil es sich nicht um einen fixen Punkt dreht; die Hebelwirkung verändert sich beim Beugen und maximiert das Drehmoment genau dann, wenn es am dringendsten benötigt wird. Teslas Viergelenksystem repliziert diesen variablen mechanischen Vorteil. So kann ein kleiner Motor eine kraftvolle und weitreichende Bewegung erzeugen. Das Patent legt offen, wie Simulationen genutzt wurden, um die optimalen Längen der Verbindungsstücke zu finden – mit dem Ziel, den Energieverbrauch zu minimieren und gleichzeitig die Vorgaben für Drehmoment und Geschwindigkeit zu erfüllen.
Warum das ein Gamechanger ist
Dieses Knie ist der Schlüssel zur Bezahlbarkeit von Optimus. Durch den Einsatz eines einzigen kleinen Aktors anstelle einer komplexeren, energiehungrigen Baugruppe senkt Tesla die Kosten, das Gewicht und die Komplexität jedes Beins drastisch. Das ist die Grundvoraussetzung, um Musks ehrgeiziges Preisziel von etwa 18.500 € bis 28.000 € pro Roboter zu erreichen. Solche Einsparungen sind essenziell für die geplante Produktion von einer Million Einheiten pro Jahr im Werk in Fremont, wo bereits Platz geschaffen wird, indem die Fertigung des Model S und Model X ausläuft.
So clever das Design auch ist – die zugrunde liegende Geometrie ist kein exklusives Tesla-Geheimnis. Analysten fiel bereits auf, dass die nächste Generation des IRON-Humanoiden von Xpeng eine verblüffend ähnliche Gelenkkette verwendet. Da Teslas Design seit dem AI Day 2022 öffentlich bekannt ist, scheint die Branche auf die effizientesten Lösungen zu konvergieren. Die Evolution hatte Jahrmillionen Zeit, um die perfekte Geometrie auszutüfteln. Tesla muss sie nun mit einem strikten Budget nachbauen.

